店舗・施設に最適な床タイル仕上用床点検口「FAT型」をご紹介

床点検口は建物の配管・配線・構造体の点検の際に出入口として役立つ設備です。
点検口があることで、不具合や漏水が発生したとき、床下点検や修理・清掃が容易に行えます。しかし、タイル床の店舗や施設では、点検口を設置することで床面の美観が損なわれたり、多くの人が利用する場所では十分な強度が得られないなどのケースがありました。
そこで、オススメしたいのが床タイル仕上用床点検口「FAT型」です。
タイル床の目地ラインに合うサイズ展開で意匠性を損なわず、店舗・施設で使用できる高強度な仕様です。
今回はそんな床タイル仕上用点検口「FAT型」をご紹介します。
(公開2026年2月10日)
↓「点検口カタログ」はここをチェック↓
店舗・施設のタイル床に点検口を設置する際のポイント
・床の意匠性
これまでの床点検口では点検口周囲のタイル目地やカットラインが目立ってしまい、タイル床の意匠性が損なわれてしまいます。
FAT型は一般的なタイルサイズに合わせた外枠外寸法を設定しているため、点検口とタイルの目地ラインを揃えやすく、タイル床の美観を損ないません。
・強度
店舗内は人通りや什器の移動が多く、床への荷重や衝撃が大きいため、強度のある点検口が必要になってきます。
FAT型は等分布の群集荷重5kN/㎡(1㎡当り約500kg)と高強度設定のため、安心して店舗や施設で使用できます。
床タイル仕上用床点検口「FAT型」とは

「FAT型」は、タイル床の店舗・施設での使用に合わせて設計された床点検口です。300角・450角・600角の3サイズ展開で300×300~600×600mmの特注サイズにも対応しています。そのため、設置場所のタイルサイズに合わせて選定でき、仕上がりにこだわりたい方におすすめです。さらに、店舗や施設で多くの人が利用する環境にも対応できる、等分布の群集荷重5kN/㎡(1㎡当り約500kg)という高い強度設計を採用しており、安心して長く使用できます。
床タイル仕上用床点検口「FAT型」の仕様
床タイル厚
対応するタイル厚は8~12mmで主要なタイル厚に対応しています。
・床タイル厚9mmの場合

・床タイル厚12mmの場合

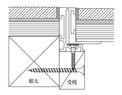
施工できる床の種類
木製下地床の置床工法・在来工法のどちらでも使用可能で、施工現場に合わせて柔軟に対応できます。
・置床工法の場合はパーティクルボードへのねじ固定

・在来工法の場合は受桟へのねじ固定

寸法
各サイズの寸法は以下の通りです。

簡易ロック機構
六角穴付きねじにより取手をロックし、いたずらを予防する簡易ロック付です。
床タイル仕上用床点検口「FAT型」まとめ
床タイル仕上用床点検口「FAT型」は、デザイン性と耐久性を両立しており、店舗や施設におすすめの製品です。300角・450角・600角の3サイズ展開でタイル床の目地ラインと点検口が合わせやすく、タイル床の美観を損ないません。さらに、等分布の群集荷重5kN/㎡の高強度設計で多くの人が集まる場所でも安心して使えます。また、8~12mmのタイル厚に対応し、置床工法と在来工法どちらでも施工できます。床タイルのデザイン性と耐久性を重視したい方は、ぜひ「FAT型」をご検討ください。
【関連記事】【気密断熱 点検口】 建築物省エネ法 対応点検口のご紹介
【関連記事】天井点検口・壁点検口〈目地タイプ〉のおすすめをご紹介
【耐火・気密 点検口】45分/60分の準耐火構造に対応する点検口をご紹介
【高所天井向け 点検口】操作棒で開閉可能な天井点検口をご紹介
【床下点検口】【床下収納庫】失敗したくない!オススメの製品をご紹介







